
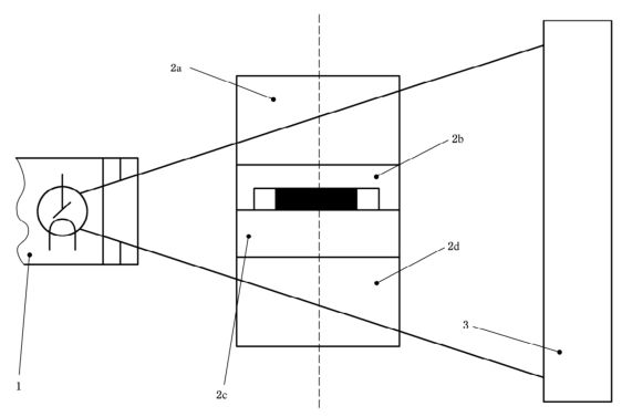
体模由 PMMA、定位辅助装置、铣槽和附加结构组成。体模采用圆柱形零件,它们层层复合后放人辐射光束路径中使相关结构成像(参见图A.1)。

图A.1所示三个体模区域为圆柱形零件,厚度分别是60mm(2a区)、20mm(2c区)和50 mm(2d区),其全部采用 PMMA 材质,可选配用于定位的铣槽(参见图 A.2)。单位为毫米

模体其中一个圆柱形零件(图 A.1 中的 2b区)配备附加结构,即一个低塑性聚氣乙烯(PVC)(1.4 g/cm°)环带和一个充满空气的铣槽。模体结构元件如图 A.3 所示。单位为毫米
DELTA德尔塔仪器是一家专业从事医疗器械检测设备、分析仪器、模体销售和非标订制类设备的高新技术企业。主要产品包括:GB9706系列安全安规及可靠性检测设备,医用针测试仪器,注射器测试仪器,手术器械测试仪器,防护用品类测试仪器,康复辅助器械测试仪器,医学信号模拟器,医学测试分析仪器,超声检测仪器,辐射检测仪器,各类测试模体,客户需求定制服务等。产品主要应用于各类医疗器械生产制造企业、科研院所、医疗器械检验中心、康复辅助器械验中心、产品质量监督检验所、医学计量实验室、疾控中心、职业病防治所、出入境检验检疫、医科学院及三甲医院等领域。
山体滑坡19513处,塌方45629处,上万间房屋倒塌!湖南资兴通报:特大暴雨灾害致50人遇难15人失踪
一家专业从事医疗器械检测设备、分析仪器、模体销售和非标订制类设备的高新技术企业。
与中坚力量共成长,2024建信信托艺术大奖评委会特别奖获奖艺术家凌海鹏
OPPO周意保换上OPPO Find X8:首批搭载联发科天玑9400